Antique Car Finding Vacuum Line What Is This And Why Does Does It Have A Vacuum Line On It?

Antique Car Finding Vacuum Line What Is This And Why Does Does It Have A Vacuum Line On It?

If you are looking for Vacuum Lines: the Vehicle Was Running Good Parked It for About Six... you've came to the right page. We have 35 Pictures about Vacuum Lines: the Vehicle Was Running Good Parked It for About Six... like Antique Car Finding Vacuum Line, Classic Antique car finding vacuum hoses with Best Modified | Antique and also Need Info on Vacuum Lines - Buick Riviera - Antique Automobile Club of. Read more:

Vacuum Lines: The Vehicle Was Running Good Parked It For About Six...

Vacuum Lines: the Vehicle Was Running Good Parked It for About Six... www.2carpros.com

vacuum lines sponsored links

Tuning Carburetors On Vintage Cars

Tuning carburetors on vintage cars www.motales.com

Vacuum Lines: As Of Recently I Have Been Going Through Everything

Vacuum Lines: as of Recently I Have Been Going Through Everything www.2carpros.com

Antique Car Buying Vacuum Line - Antique Cars Blog

Antique Car Buying Vacuum Line - Antique Cars Blog cars.filtrujillo.com

Vacuum Lines: The Vehicle Was Running Good Parked It For About Six...

Vacuum Lines: the Vehicle Was Running Good Parked It for About Six... www.2carpros.com

vacuum lines

Mysterious Vacuum Lines | The Lotus Cars Community

Mysterious vacuum lines | The Lotus Cars Community www.lotustalk.com

HVAC Control Repair - Buick Riviera - Antique Automobile Club Of

HVAC control repair - Buick Riviera - Antique Automobile Club of forums.aaca.org

1928 Vacuum Chamber - Plumbing The Fuel System HELP - Packard - Antique

1928 Vacuum Chamber - Plumbing The Fuel System HELP - Packard - Antique forums.aaca.org

New Vacuum Lines | New Vacuum Lines. | John Boyd | Flickr

New Vacuum Lines | New vacuum lines. | John Boyd | Flickr www.flickr.com

'66 Vacuum Lines 200 I6 With Autolite 1100 | Vintage Mustang Forums

'66 vacuum lines 200 I6 with Autolite 1100 | Vintage Mustang Forums www.vintage-mustang.com

Classic Antique Car Finding Vacuum Hoses With Best Modified | Antique

Classic Antique car finding vacuum hoses with Best Modified | Antique mixpict.github.io

How To Check For Vacuum Leaks And Our DIY Steps To Fix Them

How To Check for Vacuum Leaks and Our DIY Steps to Fix Them www.thedrive.com

vacuum leak

Vacuum Lines

Vacuum lines vintage-vans.forumotion.com

8 Reasons Your Car Stalls While Driving (and What To Do)

8 Reasons Your Car Stalls While Driving (and What To Do) cartreatments.com

What Is This And Why Does Does It Have A Vacuum Line On It? - What Is

What is this and why does does it have a vacuum line on it? - What is forums.aaca.org

Vacuum Line: Where Does This Go? Everything Else Is, Page 2

Vacuum Line: Where Does This Go? Everything Else Is, Page 2 www.2carpros.com

Easiest Way Of Fixing Old Broken Vacuum Lines On Any Car - YouTube

Easiest Way of Fixing Old Broken Vacuum Lines on Any Car - YouTube www.youtube.com

Strange Wire On 63 Vacuum Tank - Buick Riviera - Antique Automobile

Strange Wire on 63 Vacuum tank - Buick Riviera - Antique Automobile forums.aaca.org

Vacuum Lines - YouTube

Vacuum Lines - YouTube www.youtube.com

vacuum lines

Antique Car Finding Vacuum Line

Antique Car Finding Vacuum Line oldcar.netlify.app

TheSamba.com :: Gallery - NOS Vacuum Lines Used From 1964-1979 Or So.

TheSamba.com :: Gallery - NOS Vacuum lines used from 1964-1979 or so. www.thesamba.com

Vacuum Advance Line Questions - Buick - Post War - Antique Automobile

Vacuum Advance Line Questions - Buick - Post War - Antique Automobile forums.aaca.org

Vacuum Line Questions. - TurboBuicks.com

Vacuum Line Questions. - TurboBuicks.com www.turbobuicks.com

vacuum buick line questions turbobuicks truth calvin manipulate hobbes facts select

Vacuum Line - ClassicOldsmobile.com

Vacuum line - ClassicOldsmobile.com classicoldsmobile.com

line vacuum classicoldsmobile

What Is This? | Classic Parts Talk

What is this? | Classic Parts Talk talk.classicparts.com

Need Info On Vacuum Lines - Buick Riviera - Antique Automobile Club Of

Need Info on Vacuum Lines - Buick Riviera - Antique Automobile Club of forums.aaca.org

Unknown Vacuum Device | Hot Rod Forum

Unknown Vacuum Device | Hot Rod Forum www.hotrodders.com

Vacuum Line... C'est Quoi? C'est Où? - Mécanique Générale - Forum

Vacuum line... c'est quoi? C'est où? - Mécanique Générale - Forum www.dreams-cars.org

Vintage Gadget Turns Car Exhaust Into A Vacuum Cleaner. - Neatorama

Vintage Gadget Turns Car Exhaust Into a Vacuum Cleaner. - Neatorama www.neatorama.com

car vacuum vintage exhaust cleaner into gadget neatorama turns ads 2007 hotlinking stop please clean use ad advertisements

ID Some Vacuum Lines ? | Hot Rod Forum

ID some vacuum lines ? | Hot Rod Forum www.hotrodders.com

Columbia 2 Speed Vacuum Lines, How Are They Routed? - V12 Lincolns Only

Columbia 2 speed vacuum lines, how are they routed? - V12 Lincolns Only forums.aaca.org

Overfilled My Trans And Used A 1970’s Vacuum Gauge And Miscellaneous

Overfilled my trans and used a 1970’s vacuum gauge and miscellaneous www.reddit.com

What Is This And Why Does Does It Have A Vacuum Line On It? - What Is

What is this and why does does it have a vacuum line on it? - What is forums.aaca.org

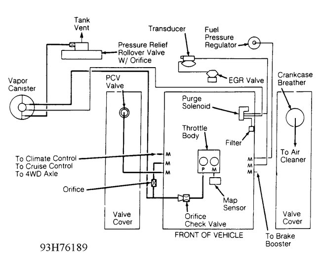
Quadrajet Vacuum Line Diagram

Quadrajet Vacuum Line Diagram stewart-switch.com

Distributor Vacuum Line | 1955-57 Fullsize Chevy Car | Shafer's Classic

Distributor Vacuum Line | 1955-57 Fullsize Chevy Car | Shafer's Classic hhclassic.com

What is this and why does does it have a vacuum line on it?. Line vacuum classicoldsmobile. Vacuum lines sponsored links